化学品与人类的生产、生活息息相关,涉及领域广泛。随着化学品安全生产、健康和环境安全等相关问题的不断暴露,很多国家和地区对化学品的生产、使用、储存、运输和进出口等环节都进行了严格的管控。化学品管理法规庞杂、更新频繁,且管理名录、清单繁多,使得企业面对不断变化的化学品法规政策及清单感到无所适从。瑞旭集团基于化学品合规领域十几年的实操经验和强大的法规专家团队,正式发布“化规通”,助力企业轻松合规。
化规通由瑞旭集团研发出品,面向化工及下游行业的化学品全生命周期合规资讯、数据及技术服务平台。它基于最新的全球化学品法规资讯、可靠的物质及法规标准数据库、专业的合规工具及技术咨询服务,帮助企业降低产品合规风险、破除市场准入壁垒。
化规通平台的主要功能及特点如下所示:
1、包含资讯、指南、工具、数据库、课程等全方位合规信息。

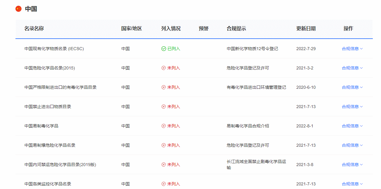
2、全球化学品名录查询(GCIS)
GCIS目前包含:中国、中国台湾、欧盟、日本、韩国、美国、澳大利亚、新西兰、加拿大、俄罗斯、墨西哥、菲律宾、印度尼西亚、马来西亚、越南等多个国家,近70个化学品名录, 80多万条信息。
→ 通过CAS编号/中文名称/英文名称即可查询。

→ 全球化学品名录列入情况, 合规解读,一目了然。

→ 重点名录划分,提供名录筛选功能,为您快速导航。

→ 一键预警功能,帮您快速获取合规风险。

→ 下载报告,发送邮箱,为您适时记录合规情况。

3、全球GHS分类查询
GHS分类查询目前包括:中国、中国台湾、欧盟、英国、韩国、澳大利亚和马来西亚7个国家及地区的强制/非强制性建议分类,帮你快速了解17000多个化学品危害类别及各个国家和地区的分类差异。
→ 通过CAS编号/中文名称/英文名称即可查询。

→ 危险信息、标签要素等信息清晰。

4、海陆空UN编号及危货信息一键查询
危险货物运输信息包括:在中国境内的空运IATA、海运IMDG、陆运(JT/T617)及内河禁运信息。
→ 通过UN编号/中文描述名/英文描述名即可查询。

→ 尽含运输规定、运输标志、有限数量/例外数量等运输信息。

→ 内河禁运风险示警。

化规通平台访问地址:
- 点击查看 (建议PC端访问)
为了方便您更好地了解化规通的功能及特色,我们诚邀您参加明天(8月19日)上午9点的直播。我们将进行现场演示,欢迎参加!


